РСП 38М Взрывозащищенный светильник с ртутной лампой




Область применения: |
|
Назначение: |
|
Источник света: | Ртутная лампа (ДРЛ) |
Цоколь: | E27, E40 |
Номинальное напряжение: | 220 В |
Номинальная частота: | 50 Гц |
Класс защиты по току: | I |
Класс защиты IP: | IP65 |
Климатическое исполнение: | УХЛ1 |
Артикул производителя: | РСП 38М |
Мощность: | 80-250 Вт |
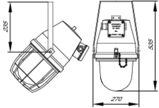
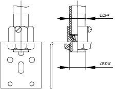
Габаритные размеры: | см. чертёж |
Наличие: | |
Количество: | |
Цвет свечения: |
Производитель «Гагаринский СТЗ», Россия
ОПИСАНИЕ
Модель РСП 38М предназначена для повышения безопасности производств, на которых не исключено образование взрывоопасной среды. Зоны 1 и 2 существуют на объектах нефтепереработки и деревообработки, химических, текстильных, лакокрасочных предприятиях.
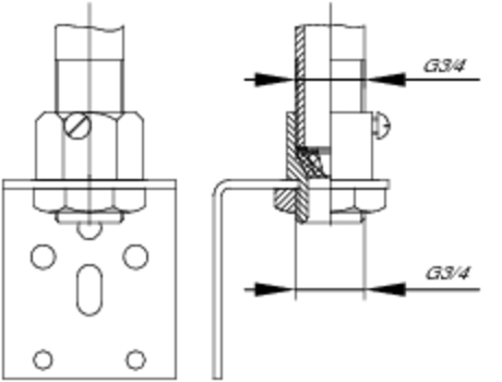
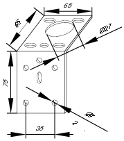
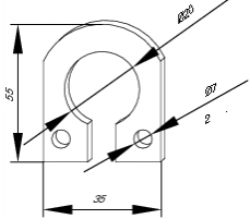
Универсальная скоба подвеса позволяет установить изделие на монтажный профиль, трубу. Дополнительные крепления: серьга, поворотный и комбинированный подвес. Базовая комплектация вводной коробки предназначена для выполнения тупикового подключения. Дополнительный кабельный ввод обеспечит транзитное подключение.
В модельном ряду изделия с ДРЛ-80 (125, 250) Вт. Светопропускающий колпак рассеивает свет. При дополнении светильника отражателем формируется защитный угол 15°. Металлическая решетка оградит от механических воздействий.
Взрывонепроницаемость оболочки, состоящей из корпуса и боросиликатного колпака, неразъемно установленного в металлическое кольцо, соблюдается наличием объединяющего резьбового лабиринта. В месте объединения применено резиновое уплотнительное кольцо, препятствующее попаданию пыли и воды (IP65).
Конструкция
Взрывонепроницаемая оболочка светильника состоит из двух частей — колпака и корпуса. Корпусные детали отлиты из коррозионностойкого алюминиевого сплава. Колпак представляет собой светопропускающий элемент, отлитый из боросиликатного стекла и герметично закрепленный в металлическом кольце. С корпусом колпак соединяется посредством резьбового лабиринта, обеспечивающего взрывонепроницаемое соединение. Для защиты внутреннего объема от влаги и пыли соединение уплотняется резиновым кольцом. На корпусе светильника герметично укреплена вводная коробка, конструкция которой допускает как тупиковый, так и транзитный монтаж светильников.
Комплект поставки
В базовом варианте светильник поставляется с одним кабельным вводом и одной пробкой для тупикового монтажа, с универсальной скобой подвеса, без решётки и без отражателя.
ОБЩИЕ ТЕХНИЧЕСКИЕ ХАРАКТЕРИСТИКИ
Коэффициент мощности, не менее | 0,85 |
Группа условий эксплуатации | М2 |
Монтаж | транзитный или тупиковый 3‑х жильным круглым кабелем от Ø9 до Ø16 мм, сечением жил не более 2,5 мм2 |
Защитный угол (с отражателем) | 15 градусов |
Сейсмостойкость | 9 баллов по шкале MSK-64 |
Срок службы | 10 лет |
Дополнительная комплектация
Варианты установки и крепежа
ГАБАРИТНЫЕ РАЗМЕРЫ
Таблица кодов заказа светильников
Артикул | Наименование светильника | Источник света | Маркировка взрывозащиты | Диапазон рабочих температур | Масса, кг |
---|---|---|---|---|---|
012001 | РСП 38М-80 | ДРЛ-80, Е27 | 1ExdsIICT6 | -45°С…+40°С | 13,5 |
012002 | РСП 38М-80 УХЛ1 | ДРЛ-80, Е27 | 1ExdsIICT6 | -60°С…+40°С | 13,5 |
012005 | РСП 38М-125 | ДРЛ-125, Е27 | 1ExdsIICT5 | -45°С…+40°С | 14 |
012006 | РСП 38М-125 УХЛ1 | ДРЛ-125, Е27 | 1ExdsIICT5 | -60°С…+40°С | 14 |
012009 | РСП 38М-250 | ДРЛ-250, Е40 | 1ExdsIICT4 | -45°С…+40°С | 15 |
012010 | РСП 38М-250 УХЛ1 | ДРЛ-250, Е40 | 1ExdsIICT4 | -60°С…+40°С | 15 |
Похожие товары

Ex-ДСП (подвесной) Взрывозащищенный светодиодный светильник Fereks

Ex-ДСП (на кронштейне) Взрывозащищенный светодиодный светильник Fereks

Ex-ДВУ Взрывозащищенный светодиодный светильник Fereks

РСП25 / ЖСП25 / ГСП25 Ашасветотехника

РСП62 / ЖСП62 / ГСП62 Ашасветотехника

РСП69 / ЖСП69 / ГСП69 Ашасветотехника

РСП72 / ЖСП72 / ГСП72 Ашасветотехника

ЖО73 / ГО73 Ашасветотехника
Вы недавно смотрели
