Виолан Л АО Взрывозащищенный светильник специального назначения




Область применения: |
|
Назначение: |
|
Источник света: | Люминесцентная лампа (ЛЛ) |
Цоколь: | G5 |
Номинальное напряжение: | 220 В |
Номинальная частота: | 50 Гц |
Класс защиты по току: | I |
Класс защиты IP: | IP65 |
Артикул производителя: | Виолан Л АО |
Мощность: | 8 Вт |
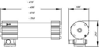
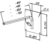
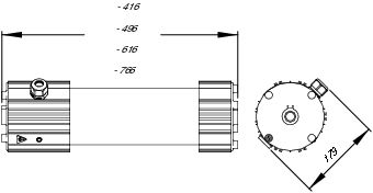
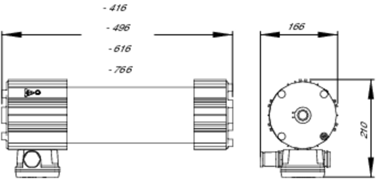
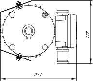
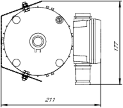
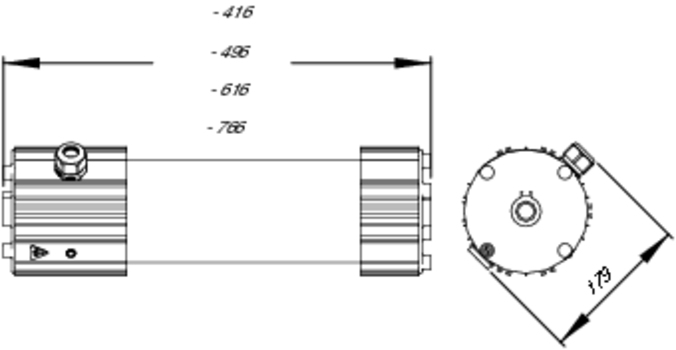
Габаритные размеры: | см. чертёж |
Наличие: | |
Количество: | |
Цвет свечения: |
Производитель «Гагаринский СТЗ», Россия
ОПИСАНИЕ
Осветительные приборы Виолан Л АО применяются на предприятиях, осуществляющих переработку нефтепродуктов и газа, деревообработку, производство химической, текстильной, лакокрасочной продукции. 1-й уровень взрывозащиты дает основания к их использованию в зонах 1 и 2, на которых не исключено образование взрывоопасной среды.
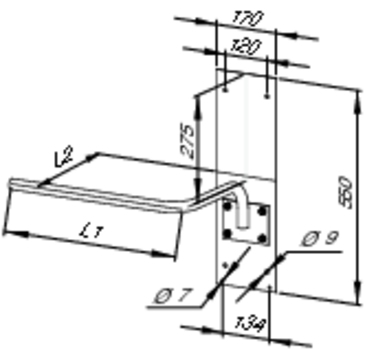
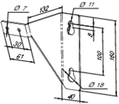
Для фиксации креплений на корпусе выполнены пазы. Осуществима настенная, потолочная, подвесная установка. Ввод кабеля: через вводную коробку или прямой. Базовая версия предназначена для тупиковой установки. Дополнение изделий вторым кабельным вводом позволит применить транзитное подключение.
Модель с ЭПРА выполнена в типоразмерах КС и ПС. Обе версии расширены количеством применяемых ламп Т5 (8 Вт): две и три и продолжительностью аварийного цикла: один или три часа. Зарядка АКБ осуществляется после восстановления линий. Особенности зажигания ламп определяют рамки температурного диапазона: -20°С – +40°С.
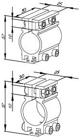
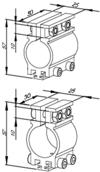
Оболочка светильника образована неразъемным светопропускающим узлом и крышками. Взрывонепроницаемость соблюдается их объединением по резьбовому лабиринту. В состав узла входит поликарбонатная трубка, с обеих сторон заключенная в корпусные элементы. Степень герметичности конструктивной формы – IP65.
Конструкция
Оболочка светильника состоит из светопропускающего элемента — трубы из поликарбоната, герметично заделанной в два корпуса из алюминиевого профиля, что делает эту оболочку неразборной. С обеих сторон оболочка светильников соединяется с крышками посредством резьбового лабиринта, обеспечивающего требование ограниченного пропуска газов. Конструкция светильников допускают как тупиковый, так и транзитный монтаж светильников. Корпуса светильников имеют пять специальных пазов, которые позволяют крепить практически любые монтажные конструкции из металлических пластин с отверстиями при помощи болтов или гаек М6. Пазы исключают проворачивание головки болта или гайки. (см. рисунки). Во всех исполнениях светильников с люминесцентными лампами Т5 применяются электронные ПРА.
Комплект поставки
В базовом варианте светильник поставляется с двумя универсальными скобами подвеса без решётки и отражателя, с одним кабельным вводом для тупикового монтажа.
ОБЩИЕ ТЕХНИЧЕСКИЕ ХАРАКТЕРИСТИКИ
Диапазон рабочих температур | минус 20°С – плюс 40°С |
Коэффициент мощности, не менее | 0,85 |
Группа условий эксплуатации | М2 |
Монтаж | транзитный или тупиковый 3‑х жильным круглым кабелем от Ø9 до Ø16мм, сечением жил не более 2,5мм2 |
Защитный угол (с отражателем) | 15 градусов |
Сейсмостойкость | 9 баллов по шкале MSK-64 |
Срок службы | 10 лет |
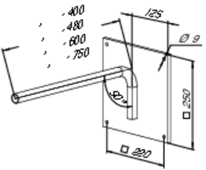
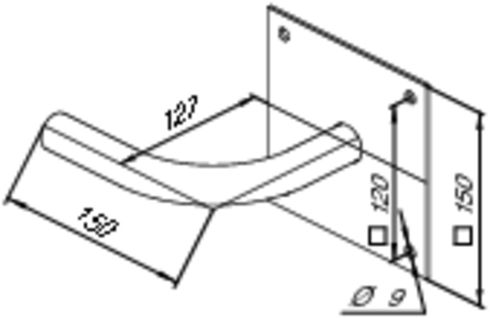
Дополнительная комплектация
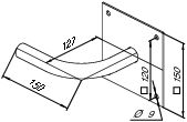
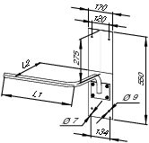
Варианты установки и крепежа
ГАБАРИТНЫЕ РАЗМЕРЫ
Таблица кодов заказа светильников
Артикул | Наименование светильника | Маркировка взрывозащиты | Диапазон рабочих температур | Масса, кг | Время работы в автономном режиме, ч |
---|---|---|---|---|---|
117025 | Виолан Л-2х8(G5) Э АО-1 КС | 1ExdsIICT6 Х | -20°С…+40°С | 6,7 | 1 |
117026 | Виолан Л-2х8(G5) Э АО-1 ПС | 1ExdIICT6 Х | -20°С…+40°С | 6,7 | 1 |
117027 | Виолан Л-2х8(G5) Э АО-3 КС | 1ExdsIICT6 Х | -20°С…+40°С | 7 | 3 |
117028 | Виолан Л-2х8(G5) Э АО-3 ПС | 1ExdIICT6 Х | -20°С…+40°С | 7 | 3 |
117029 | Виолан Л-3х8(G5) Э АО-1 КС | 1ExdsIICT6 Х | -20°С…+40°С | 6,7 | 1 |
117030 | Виолан Л-3х8(G5) Э АО-1 ПС | 1ExdIICT6 Х | -20°С…+40°С | 6,7 | 1 |
117031 | Виолан Л-3х8(G5) Э АО-3 КС | 1ExdsIICT6 Х | -20°С…+40°С | 7 | 3 |
117032 | Виолан Л-3х8(G5) Э АО-3 ПС | 1ExdIICT6 Х | -20°С…+40°С | 7 | 3 |
Похожие товары

Ex-ДСП (подвесной) Взрывозащищенный светодиодный светильник Fereks

Ex-ДСП (на кронштейне) Взрывозащищенный светодиодный светильник Fereks

Ex-ДВУ Взрывозащищенный светодиодный светильник Fereks

РСП25 / ЖСП25 / ГСП25 Ашасветотехника

РСП62 / ЖСП62 / ГСП62 Ашасветотехника

РСП69 / ЖСП69 / ГСП69 Ашасветотехника

РСП72 / ЖСП72 / ГСП72 Ашасветотехника

ЖО73 / ГО73 Ашасветотехника
Вы недавно смотрели
