ЖСП47-70, ЖСП 47-70 Э ( ЭПРА) Взрывозащищенный светильник с натриевой лампой



Область применения: |
|
Назначение: |
|
Источник света: | Натриевая лампа (ДНаТ) |
Цоколь: | E27 |
Номинальное напряжение: | 220 В |
Номинальная частота: | 50 Гц |
Класс защиты по току: | I |
Класс защиты IP: | IP65 |
Климатическое исполнение: | УХЛ1 |
Артикул производителя: | ЖСП47-70, ЖСП 47-70 Э ( ЭПРА) |
Мощность: | 70 Вт |
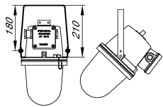
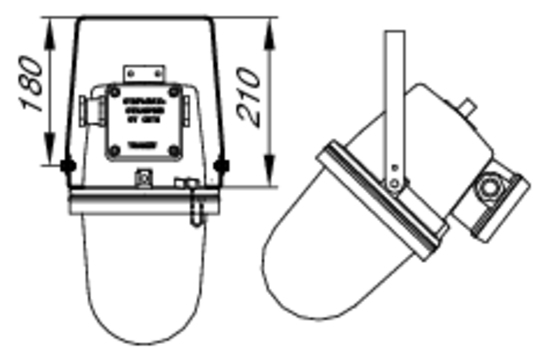
Габаритные размеры: | см. чертёж |
Наличие: | |
Количество: | |
Цвет свечения: |
Производитель «Гагаринский СТЗ», Россия
ОПИСАНИЕ
Осветительные приборы ЖСП47-70 (ЖСП47-70 Э) применяются в зонах 1 и 2 предприятий, на которых в процессе выполнения работ или при аварийной ситуации может образоваться взрывоопасная среда. Такие особенности имеют место в газовой, химической, нефтеперерабатывающей, лакокрасочной, деревообрабатывающей, текстильной отрасли.
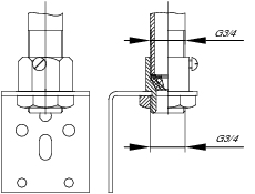
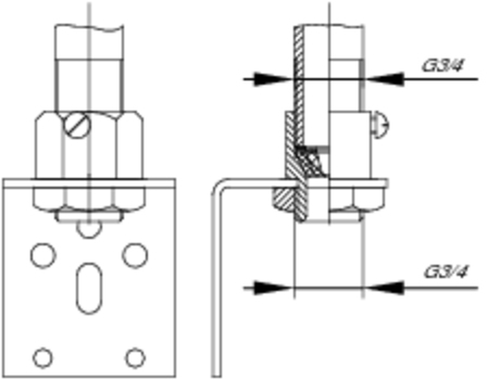
Подвесная установка на трубу, монтажный профиль, крюк выполняется с использованием креплений. Базовый комплект включает универсальную скобу. Вводная коробка позволяет выполнять тупиковое подключение, а при установке 2-го кабельного ввода – транзитное.
Подключаемые в однофазную сеть изделия эксплуатируются с ПРА, в том числе электронного типа, cosϕ≥0.85. Мощность ламп с цоколем Е27 – 70 Вт. Установка внешнего отражателя создаст защитный угол 15°, решетка повысит ударопрочность.
Основные части светильника: корпус и колпак, зафиксированный в металлическом кольце, в интересах соблюдения взрывозащиты оболочки, объединены резьбовым лабиринтом. Резиновое уплотнительное кольцо не допускает попадание пыли и воды (IP65). Эффективность работы соблюдается при температуре: от -45 (-60)°С до +40°С.
Конструкция
Взрывонепроницаемая оболочка светильника состоит из двух частей — колпака и корпуса. Корпусные детали отлиты из коррозионностойкого алюминиевого сплава. Колпак представляет собой светопропускающий элемент, отлитый из боросиликатного стекла и герметично закрепленный в металлическом кольце. С корпусом колпак соединяется посредством резьбового лабиринта, обеспечивающего взрывонепроницаемое соединение. Для защиты внутреннего объема от влаги и пыли соединение уплотняется резиновым кольцом. На корпусе светильника герметично укреплена вводная коробка, конструкция которой допускает как тупиковый, так и транзитный монтаж светильников.
Комплект поставки
В базовом варианте светильник поставляется с одним кабельным вводом и одной пробкой для тупикового монтажа, с универсальной скобой подвеса, без решётки и без отражателя.
ОБЩИЕ ТЕХНИЧЕСКИЕ ХАРАКТЕРИСТИКИ
Коэффициент мощности, не менее | 0,85 |
Группа условий эксплуатации | М2 |
Монтаж | транзитный или тупиковый 3-х жильным круглым кабелем от Ø9 до Ø16 мм, сечением жил не более 2,5 мм2 |
Защитный угол (с отражателем) | 15 градусов |
Сейсмостойкость | 9 баллов по шкале MSK-64 |
Срок службы | 10 лет |
Дополнительная комплектация
Варианты установки и крепежа
ГАБАРИТНЫЕ РАЗМЕРЫ
Таблица кодов заказа светильников
Артикул | Наименование светильника | Источник света | Маркировка взрывозащиты | Диапазон рабочих температур | Наличие ЭПРА | Масса, кг |
---|---|---|---|---|---|---|
023001 | ЖСП47-70 | ДНаТ-70 Е27 | 1ExdsIICT6 | -45°С…+40°С | нет | 8 |
023003 | ЖСП47-70 УХЛ1 | ДНаТ-70 Е27 | 1ExdsIICT6 | -60°С…+40°С | нет | 8 |
023005 | ЖСП47-70 Э (ЭПРА) | ДНаТ-70 Е27 | 1ExdsIICT6 | -45°С…+40°С | есть | 8 |
023007 | ЖСП47-70 Э НП | ДНаТ-70 Е27 | 1ExdsIICT6 | -45°С…+40°С | есть | 8 |
Похожие товары

Ex-ДСП (подвесной) Взрывозащищенный светодиодный светильник Fereks

Ex-ДСП (на кронштейне) Взрывозащищенный светодиодный светильник Fereks

Ex-ДВУ Взрывозащищенный светодиодный светильник Fereks

РСП25 / ЖСП25 / ГСП25 Ашасветотехника

РСП62 / ЖСП62 / ГСП62 Ашасветотехника

РСП69 / ЖСП69 / ГСП69 Ашасветотехника

РСП72 / ЖСП72 / ГСП72 Ашасветотехника

ЖО73 / ГО73 Ашасветотехника
Вы недавно смотрели
