Кронштейны для установки подвесных светильников
Покрытие: | Горячее цинкование, лакокрасочное покрытие. |
Материал: | Сталь |
Артикул производителя: | KN-H-B-C-X |
как выбрать опору?
ОПИСАНИЕ
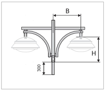
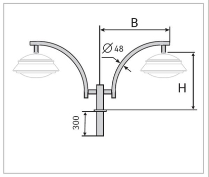
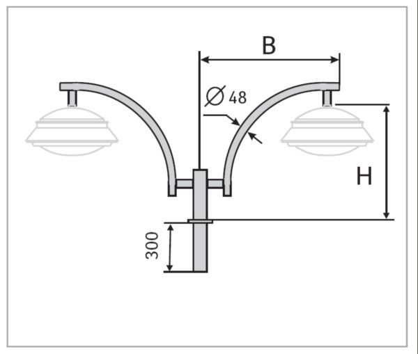
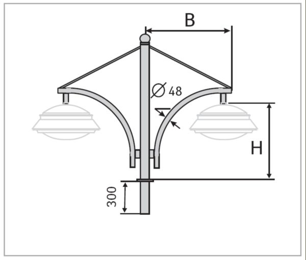
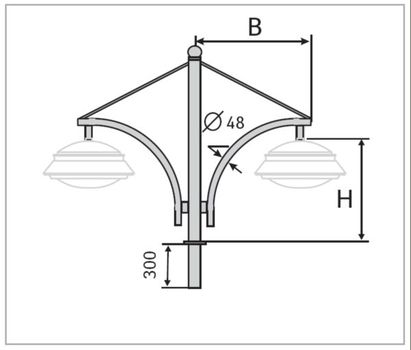
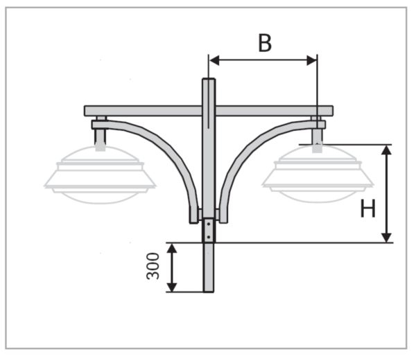
Кронштейны для установки подвесных светильников изготавливаются из стали, подвергаются оцинковке горячим методом и (или) покрываются лакокрасочным покрытием. Для кронштейнов установлены типовые размеры посадочных мест, в том числе, для посадки кронштейна на опору 50 или 60 миллиметра, для посадки светильника – 48 миллиметров. Указанные размеры могут изменяться и корректироваться под размеры и вид опор и осветительных приборов. Стандартные варианты кронштейнов одно или двух рожковые, но возможны варианты трех и четырех рожковых кронштейнов. Артикул, предназначенный для обозначения данного типа кронштейнов, имеет условное обозначение - KN-H-B-C-X. в данном обозначении указан тип кронштейна, его высота, вылет по горизонтали, вид крепления и угол наклона к горизонту. Пример обозначения с расшифровкой символов: К16-0,8-0,6-1-5 информирует о том, что тип кронштейна К16, высота – 0,8 метра, вылет по горизонтали – 0,6 м, вид крепления – 1, то есть, внутрь опоры, цифра 5 определяет условно величину угла, который по умолчанию для подвесных светильников составляет 90о. Дополнительная информация по данному кронштейну сообщает, что он весит 20,1 килограмма и предназначен для установки двух осветительных приборов. Угол наклона у кронштейнов для подвесных светильников может быть и иным. К примеру, артикул К45-0,5-0,5-1-1 обозначает, что кронштейн типа К45 имеет высоту 0,5 м, горизонтальный вылет – 0,5 м, тип крепления внутрь опоры, величина угла – 15о.
УСТРОЙСТВО
Стандартный посадочный размер кронштейна для установки на опору — 50 и 60 мм. Посадочный размер может быть изменен в зависимости от типа и высоты опоры.
Стандартный посадочный размер кронштейна для установки светильника — 48 мм. Посадочный размер может быть изменен в зависимости от типа устанавливаемого светильника.
При выборе кронштейнов с подвесными светильниками необходимо согласовывать ориентацию относительно проезжей части и используемый тип осветительных приборов.
ПОКРЫТИЕ
Горячее цинкование (ГОСТ 9.307-89), лакокрасочное.
габаритные размеры
Фотогалерея
Похожие товары

Кронштейны для установки консольных светильников

Кронштейны для установки подвесных светильников

Кронштейны для установки торшерных светильников

Кронштейны для установки прожекторов и настенных светильников

Стандарт (серия 1) Кронштейн для консольных светильников

Стандарт (серия 1) Кронштейн для подвесных светильников

Вектор (серия 2) Кронштейн для консольных светильников

Гранд (серия 3) Кронштейн для консольных светильников
Вы недавно смотрели
Статьи по теме
Кронштейны для прожекторов

Кронштейны для прожектора имеют Т-образную форму и предназначены для установки приборов освещения направленного света. Количество прожекторов и местах их установки могут варьироваться.
Кронштейны для опор из листовой стали

Кронштейны для осветительных опор с корпусом из листовой стали представляют собой универсальные конструкции, с помощью которых можно адаптировать изделие под конкретную сферу применения.
Порядок установки кронштейна на оголовок осветительной конструкции модели НФГ

Способ монтажа кронштейна на оголовке опоры зависит от его типа. Чаще всего используются модели с хвостовиком и ограничивающей шайбой, так как они обеспечивают максимальную прочность.
